欢迎来到kaiyun开云网页版网站!


求购商标

发布商标

商标分类表,你真的看懂了嘛?

时间:2019-09-11 09:42:11 点击:

商标分类表中的 “ * ” 和“※”

    用过分类表的大家一定见过“*”和“※”这两个符号,不太了解的可能会一头雾水,那么这两个符号究竟代表什么意思呢?
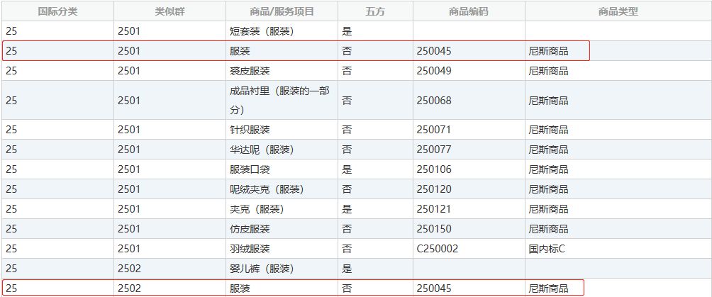
   “*”表示这个商品项目是一个统称,不能排除这个统称同样在其他类别出现的可能性,举个例子,25类,2501里边的服装250045,分别在2502、2503、2504、2505里边也都出现了。这里的“服装”是一个统称,在不同小类里边都有可能出现,因此标注*号加以区分。如下图。

商标分类表,你真的看懂了嘛?

    接下来说说“※”这个符号。一般这个符号会与“C”一起出现,表示这个自然段里的商品是尼斯分类表的原版里没有的,但是为适应我们中国的国情加入的,“C”是CHINA的简称。如下图。

商标分类表,你真的看懂了嘛?

    所以对应的,如果再申请马德里国际商标注册的时候,就不能选择啦,毕竟人家外国可能木有这个东东~,接下来带大家看看注册10小类如何选择!

    商标分类表一共有45大类,每一个大类底下又有很多小类,究竟在注册的时候应该怎么进行选择呢?势成每次为你推荐的10个小类有什么依据吗?

关于类别小项的选择,我们推荐的理由如下:
1.考虑咱们机构可能会使用的服务项目;
2.考虑咱们机构未来可能会提供的服务项目;
3.预防他人抢注相关的产品或服务项目;
4.平衡注册费用,每个类别只选择10个小项。

  
    当然,如果在类别小项选择当中遇到问题,咱们也可以随时讨论,进行调整。神州在专业范围内为你提供周到的服务~
小编服务范围:商标注册,专利申请,版权登记,高新认定,软件著作权,欢迎添加小编联系电话(微信):13721044562