华为的自研能力被国内外的各路媒体称道不已,原因就是这两年华为在各个方面都开始大放异彩,不仅早前发布的麒麟系列芯片在自家的各旗舰手机中得到科技广大用户的认可,还在不久前发布了以“天罡”命名的世界首款5G核心芯片,可以看出来,华为为自家孩子起名字还是很有中国特色的。

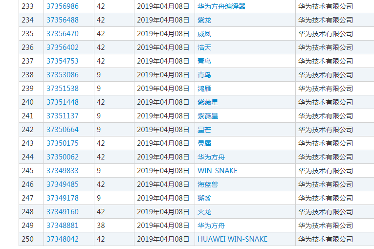
华为在商标上的规划俨然就要组成一个“神兽团”了,当前在国家商标局官网检索“华为技术有限公司”这个主体,显示其名下共累计申请了5389件商标,而近日传来的消息称,华为在上个月,也就是今年的4月份陆陆续续递交了一大堆大家耳熟能详的,与中国神兽名字相关的商标注册申请,诸如:白虎、鸿鹄、饕餮、火龙、紫龙、威凤、青牛、腾蛇、灵犀、青鸟、朱雀、丹雀等。


华为这是想干嘛?是为了后面推出某款产品注册的系列名称,还是为了别的什么?总不可能如一些网友调侃的那般“华为负责注册商标的人是个妥妥的玄幻迷”吧。而且从华为申请这一大堆商标的行为来看,绝对不是闲的没事做,明显是有针对性的。
首先从申请的商标名称来看,均是与中国传统神话中的神兽相关,在加上华为公司的技术研发背景,极有可能是未来华为主打的系列电子产品,比如手机、电脑、芯片等;又或者是某个与大数据、云计算相关的产品。
其次,如今在华为旗下已有多款芯片产品命名是与神兽名字相关的,比如:手机处理器领域的麒麟、PC领域的鲲鹏、手机基带领域的巴龙等,但是看着这些芯片的名称,就透露着浓浓的中国风。

再者,华为所申请的这堆商标均只申请了第9类和第42类,针对性强。从商标类别明细来看,这些商标名称极有可能是华为未来要推出的芯片产品。
其实不管是手机还是笔记本电脑,芯片技术一直是各大品牌专心研发的领域,对于华为更是如此。就目前全球芯片技术而言,华为虽然实力不可小觑,竞争力在这几年也快速提升,但毕竟前面还有高通、苹果、三星等老牌巨头的阻挡,而华为一直承载着“中国制造”的发展期望,这些年也一直致力于这方面的研发。

这一次申请了众多或与芯片名称相关的商标,不难看出华为想在这方面做大做强的决心。
小编服务范围:商标注册,专利申请,版权登记,高新认定,知识产权贯标,欢迎添加小编联系电话(微信):13721044562
上一篇:海外对商标保护的制度
下一篇:一个商标到底有多值钱?一试便知。